Input board help

Sorry for the noob question but I've been studying the data sheet and instructions and I can't figure this out.

I recently acquired a 8 opto-isolated Input board that allows me to take 24 dc inputs and sends out 5v to the arduino pins. There are 4 different headers on this board that have me a bit confused.

The 10 pin header seems to work fine and I'm currently using 8 of it's pins that seem to mirror the inputs. This seems to do what I want and they are on/off when switching the inputs. The last 2 pins in the header are 5v all the time.

There are two large 34 pin headers that I can't seem to figure out. The instructions that came with the board are badly translated (from Thai, I think) and they refer to an ETT standard, which I can't seem to google. It also refers to Port A and B and some jumpers and it's not clear what these do either. These are connected to two 74HTC245 chips that apparently are shifting the inputs, but to where is not clear.

My question is what could I do with these two large headers, and what do the A/B jumpers have to do with them and the chips?

Is there any sort of serial output associated with these chips? I'd rather be able to poll the board every few ms than tie up 8 pins all the time. I'd like to add a second board to get 8 more inputs.

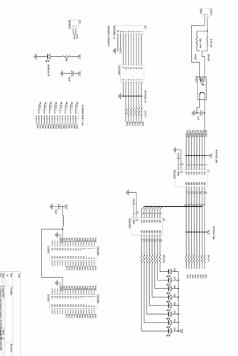
8 input board.png

Your schematic is illegible.

Sorry but that's the resolution of the PDF they sent with the board. I've searched the intranet for a better copy but haven't found one. You can mostly make out the circuits if you squint just right....

This is the explanation for the entire board on the PDF they sent. I've read it a dozen times and I still have the questions posted above. Not very clear what they mean, at least to me...

ET-DCIN8
Board ET-DCIN8 is designed to interface with I/O PORT 8255 34PIN (ETT’s standard) or other ETT Board versions that have Port Connector 34 Pin or I/O PORT 10PIN ET (ETT’s standard).
It is 8 Bit Input Board that can receive 2 DC levels: 5VDC and 24VDC and is designed to be Photo-Coupled Isolation to protect external interrupt access into the connective board controller. Moreover, there’s Output 7 Bit Darlington Open Collector 500 mA that can drive RELAY circuit directly.

We can interface Board ET-DCIN8 with ETT Board versions through Connector (72I0Z80) ETT standard. For connection, user must interface Pin 1(34Pin) of Board ET-DCIN8 to be corresponding with Pin 1 (34Pin) of the connective board or can interface with

To Set Up Jumpers of Board ET-DCIN8
There’s 2 Sets of Jumper for Board ET-DCIN8. We use the first set Jumper to configure Port 8255 for receiving signal INPUT through whether Port: PORTA or PORTB as the picture below. So, we can interface signal INPUT from 2 Boards ET-DCIN8 per a set of Connector 34PIN. Remember, we do not set Jumper on one board ET-DCIN8 to be corresponding with other one board. In case of interfacing board through Connector 10PIN ET, we can not select both PORTA and PORTB.

Hi vinny2cubes, just wondering if you made any progress with the et board? I just picked up the same board and I can vouch for your opinion on their manual...