My welder uses continuity between two pins in the remote plug to detect whether or not it should let the remote control the output, or whether it should let the dial on the front of the panel control the output. In the foot pedal supplied by the manufacturer, these pins are jumpered together so that plugging in the foot pedal immediately turns control over to the pedal, and un-plugging the foot pedal turns control back over to the front panel.
Instead of jumping these pins, I have pulled them back to my board so that I can pass control back and forth between my device and the front panel without having to un-plug the connector. I considered using several different components to switch this connection, including a MOSFET, an opto-isolated solid-state relay, and a 4066 analog switch IC. I am currently using the 4066, because 1) I accidentally ordered a power MOSFET with a 10-volt activation threshold, and 2) my relays are NC, and I need NO, because I want the contacts to be open when the Arduino is powered down so that the front panel has control in that state.
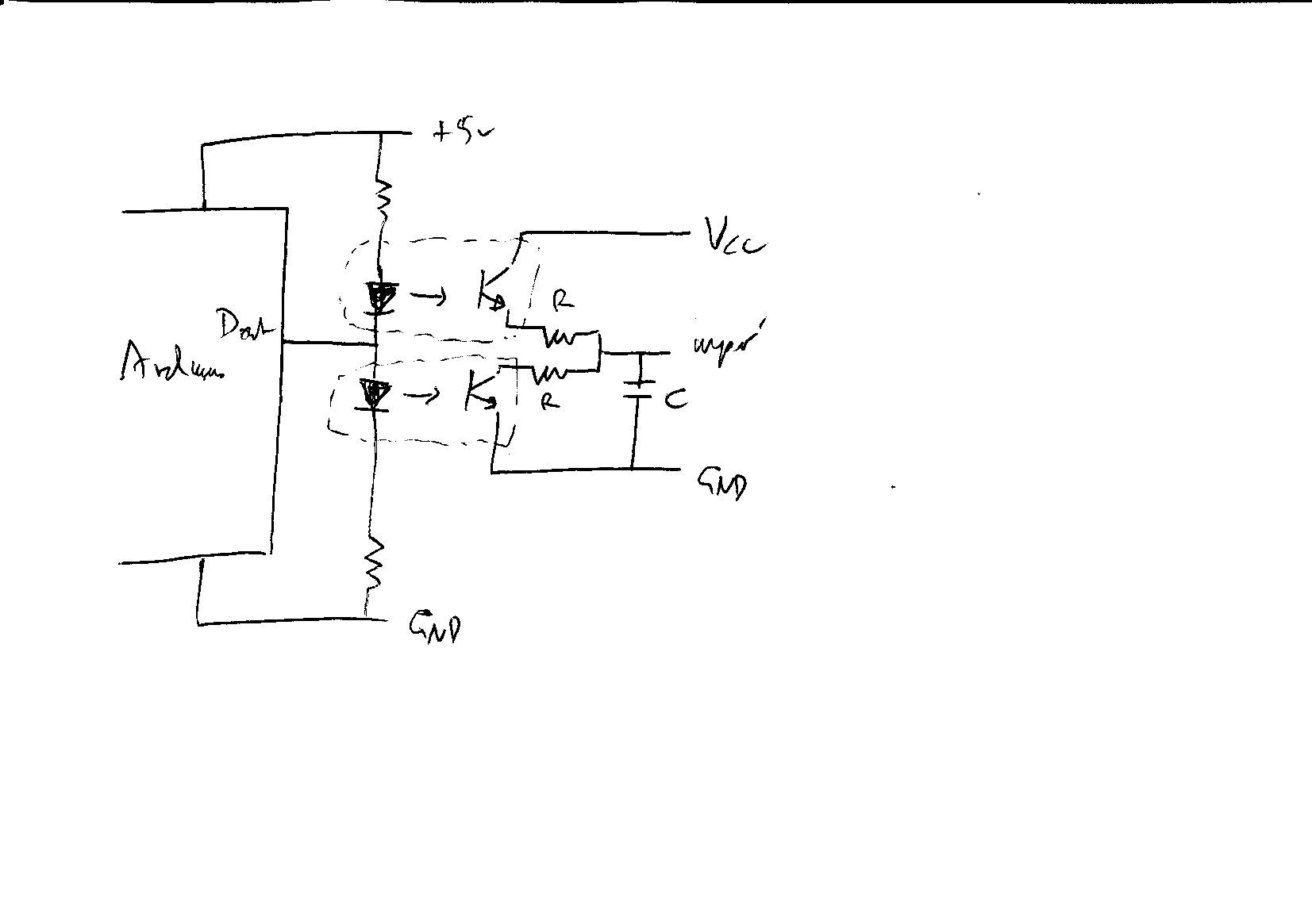
The 4066 appears to fit the bill. Between pins AIN and AOUT, there is no continuity when the chip is powered down, and there is about 168 ohms when the chip is powered up. Attached is a schematic of my circuit. You will see that I have bridged the control pin directly to the Arduino's 5v supply so that whenever the Arduino powers up, the switch should close. And readings with a multimeter confirm that this is working.
However, the results are not as I would expect. Whenever I plug the board into the welder, the welder acts as though there is continuity between the pins and disables the front-panel controls. This is even with the Arduino powered down, when no continuity should exist. Additionally, if I pull the 4066 from its socket, then the welder detects open between the pins and the front panel controls work. So there must be some signal path between pins 1 and 2 when the 4066 is plugged in, but I can't for the life of me imagine what it could be. Suffice it to say that things work fine if I install a manually-operated NO switch between the two pins of the welder's receptacle.
I have ordered some optically-isolated NO solid-state relays, which really should work, but I would like to have a better understanding of what is happening in this situation. I realize that not knowing what exactly is happening inside the welder is a bit of an impediment, but maybe some insight could be gleaned anyway.


